MPG 200S21 - 带内置电池开关的独立微脉冲发生器

MPG 200S21包括按照JASO规范D001-94进行完全兼容测试所需的一切,
对24V系统的脉冲E1和E2。
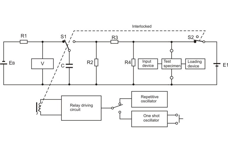
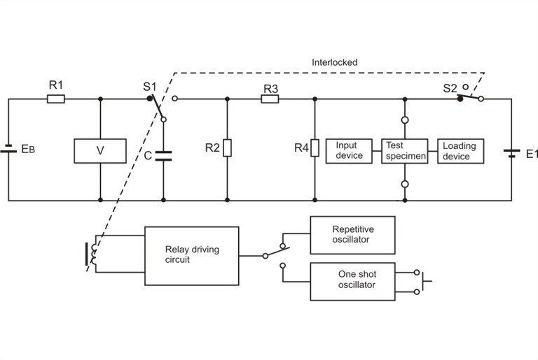
其为一个独立的测试器,包括60V / 50A直流耦合/去耦网络,
但仍可轻松集成到一个完整的测试系统中。
操作是手动的,通过软件通过GPIB或USB。
失败输入允许基于DUT的状态控制正在进行的测试序列。提供报警灯控制触点和安全联锁。
尽管如此,MPG 200S21提供了快速启动测试程序,在测试期间可以在线更改参数,以评估单个DUT的易感性水平。
分立式测试设备
覆盖JASO D 001-94
测试脉冲A2,B2和D2
内置电子电池开关
内置CDN60V/25A DC
前面板操作
标准测试路径
RS232和GPIB接口
Waveshape參數
Vp:最大瞬态电压
t1:脉冲重复时间
t2:电池关闭时间
E1:电池电源电压
tau:衰减时间常数RC,所需时间,直到电压衰减到最大值的36.8%。